Lis hydraulický 20t,UNICRAFT WPP20E
Kód: 6300020Detailní popis produktu
Hydraulický lis s robustním svařovaným rámem s deseti polohami výškového nastavení.
- Robustní svařovaný rám s deseti polohami výškového nastavení
- Manometr pracovního tlaku
- Možnost posuvu hydraulického válce po horní konstrukci
- Ruční ovládání
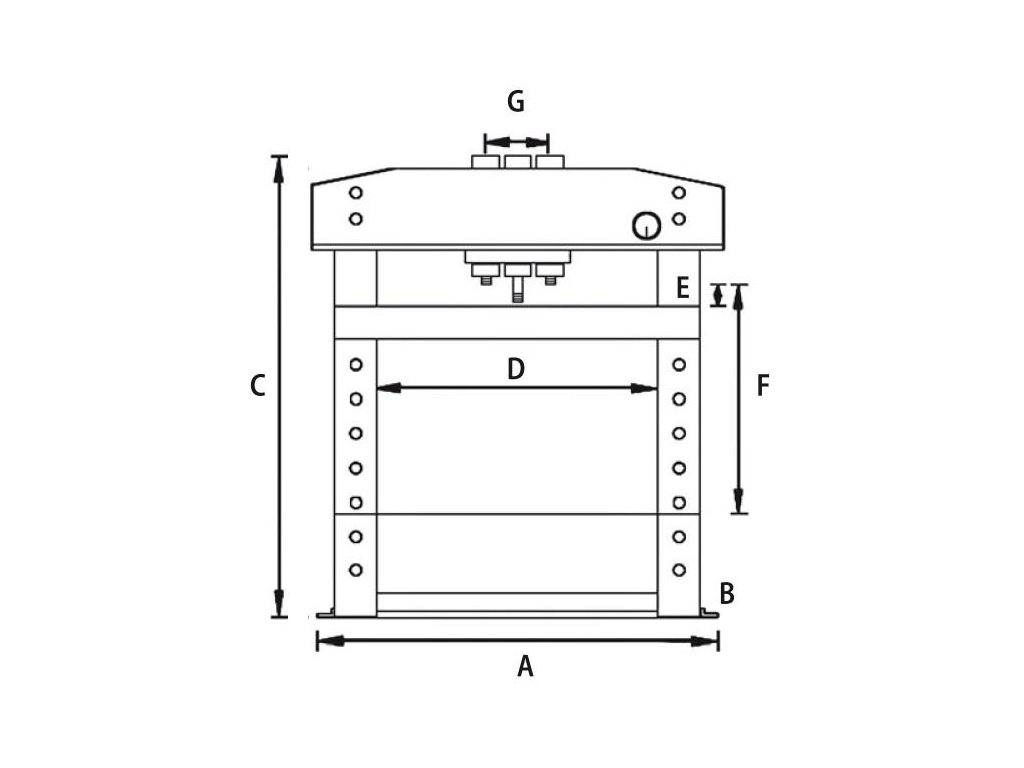
| Technická data | |
|---|---|
| Max. lisovací tlak | 20 t |
| Zdvih pístu | 190 mm |
| Max. pracovní šířka | 550 mm |
| Pracovní výška | 54 - 1044 mm |
| Podrobné rozměry: | |
| A | 810 mm |
| B | 700 mm |
| C | 1618 mm |
| D | 550 mm |
| E | 54 mm |
| F | 1044 mm |
| Hmotnost | 142 kg |
Doplňkové parametry
| Kategorie: | Hydraulické lisy |
|---|---|
| Hmotnost: | 184 kg |
| Hmotnost: | 142 |
| Hmotnost: | 142 |
Diskuze
Buďte první, kdo napíše příspěvek k této položce.
